salt la textul principal

Discurile imprimabile

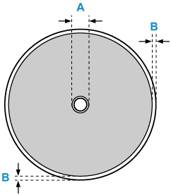
Zona de imprimare pentru discul imprimabil este de la 17 mm (0,67 in.) faţă de diametrul interior până la 1 mm (0,04 in.) faţă de diametrul exterior al suprafeţei de imprimare.

Zonă imprimabilă

  • A: 17,0 mm (0,67 in.)
  • B: 1,0 mm (0,04 in.)